一种间接降低电机功率的预旋盆
技术领域
[0001]
本实用新型属于预旋盆技术领域,具体涉及一种间接降低电机功率的预旋盆。
背景技术
[0002]
目前的泵在运行过程中,都是从涡壳直接吸水,其工作原理:在打开水泵后,叶轮在泵体内做高速旋转运动(开泵前要使泵体内充满液体),泵体内的液体随着叶轮一块转动,在离心力的作用下液体在出口处被叶轮甩出,甩出的液体在泵体涡壳内速度逐渐变慢,液体被甩出后,叶轮中心处形成真空低压区,液池中的液体在外界大气压的作用下,经吸口流入水泵内。泵体涡壳的容积是一定的,随着被甩出液体的增加,压力也逐渐增加,***后从水泵的出口被排出。液体就这样连续不断地从液池中被吸上来然后又连续不断地从水泵出口被排出去。这就是叶轮把液体从速度0加速到合适速度的过程,也就是相应的电机做功的过程(即电机的运行功率),在这个过程中叶轮始终与污水接触导致叶轮易被污水侵蚀降低叶轮使用寿命。
[0003]
另泵在运行过程中周边会有很多浮渣,泵需要强有力的自吸能力才能把浮渣吸走,会产生更多的电机做功,增大电机功率。
实用新型内容
[0004]
本实用新型的目的在于提供一种间接降低电机功率的预旋盆,以解决上述背景技术中提出的泵在运行过程中周边会有很多浮渣,泵需要强有力的自吸能力才能把浮渣吸走,会产生更多的电机做功,增大电机功率的问题。
[0005]
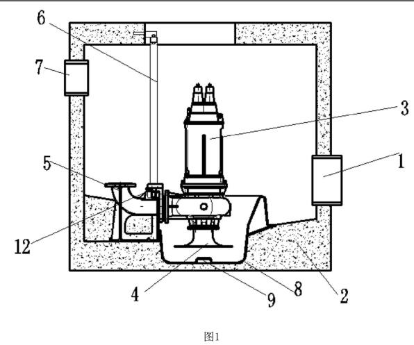
为实现上述目的,本实用新型提供如下技术方案:一种间接降低电机功率的预旋盆,包括井式泵站,所述井式泵站内安装有泵,所述泵的下方安装有虹吸管,所述虹吸管通过螺栓与泵固定连接,所述泵的左侧安装有导爪,所述导爪通过螺栓与泵固定连接,所述导爪的左侧安装有出水支撑座,所述出水支撑座的上方外壁在靠近泵位置处安装有导向杆,所述导向杆外套设有导靴,且导向杆的上方安装有导向杆固定架,所述导向杆通过螺栓与导向杆固定架固定连接,所述泵通过导爪从导向杆自上而下挂在出水支撑座上,所述出水支撑座通过地脚螺栓与井式泵站固定连接,且出水支撑座的一侧安装有出水管,所述出水管通过法兰与出水支撑座固定连接,所述虹吸管的下方安装有预旋盆,所述预旋盆通过水泥灌浆与井式泵站固定连接,所述预旋盆的底部中心区域开设有定位孔,且预旋盆的一侧外壁与出水支撑座相对应位置处开设有出水口,所述预旋盆的一侧外壁在远离出水口位置处开设有进水口,且预旋盆的底部安装有底座,所述井式泵站的一侧外壁与进水口相对应位置处安装有进水管。
[0006]
优选的,所述导爪与出水支撑座间有橡胶密封圈密封。
[0007]
优选的,所述出水口的左侧安装有排水管,所述出水口所在位置与排水管在同一平面内。
[0008]
优选的,所述导爪与导靴为一体式结构。
说 明 书
1/3 页
3
CN 207111454 U
3
[0009]
优选的,所述井式泵站的上方内壁开设有固定槽,所述导向杆固定架通过嵌入固定槽与井式泵站固定连接。
[0010]
与现有技术相比,本实用新型的有益效果是:该预旋盆结构科学合理使用安全方便,且该预旋盆可以使液体在入泵吸水口前达到一定的速度,并提供一定的流入量,这样不是叶轮把液体从速度0加速到合适速度的过程,而是从一定速度加速到合适速度的过程,不但可以泵送出比普通泵送系统更大的流量,还大大节省了这部分能量,降低了叶轮与污水的摩擦力,提高了叶轮的使用寿命,达到节能降耗的效果;且该预旋盆因设置了涡旋流道,当泵启动时水通过预旋盆涡旋流道的流量开始增加,开始产生较小的涡旋旋流,随着叶轮旋转至***大速度,其涡旋旋流速度越来越快至***大速度,使污水流入量与泵的吸入流量相匹配。也就是在预旋盆内液体形成一个强力的涡旋旋流,会携卷浮渣、泥砂通过虹吸管被泵吸入并泵送出去,达到清理池底,消除沉积的效果,保证池底清洁,实用性强。
附图说明

图1为本实用新型的装配主视图;

图2为本实用新型的装配俯视图;

图3为本实用新型的预旋盆实体效果图。
[0014]
图中:1-进水管、2-井式泵站、3-泵、4-虹吸管、5-出水支撑座、6-导向杆、7-出水
管、8-预旋盆、9-定位孔、10-进水口、11-出水口、12-导爪、13-底座。
具体实施方式
[0015]
下面将结合本实用新型实施例中的附图,对本实用新型实施例中的技术方案进行清楚、完整地描述,显然,所描述的实施例仅仅是本实用新型一部分实施例,而不是全部的实施例。基于本实用新型中的实施例,本领域普通技术人员在没有做出创造性劳动前提下
所获得的所有其他实施例,都属于本实用新型保护的范围。
[0016]
请参阅图1-3,本实用新型提供一种技术方案:一种间接降低电机功率的预旋盆,包括井式泵站2,井式泵站2内安装有泵3,泵3的下方安装有虹吸管4,虹吸管4通过螺栓与泵3固定连接,泵3的左侧安装有导爪12,导爪12通过螺栓与泵3固定连接,导爪12的左侧安装有出水支撑座5,出水支撑座5的上方外壁在靠近泵3位置处安装有导向杆6,导向杆6外套设有导靴,且导向杆6的上方安装有导向杆固定架,导向杆6通过螺栓与导向杆固定架固定连接,泵3通过导爪12从导向杆6自上而下挂在出水支撑座5上,出水支撑座5通过地脚螺栓与井式泵站2固定连接,且出水支撑座5的一侧安装有出水管7,出水管7通过法兰与出水支撑座5固定连接,虹吸管4的下方安装有预旋盆8,预旋盆8通过水泥灌浆与井式泵站2固定连接,预旋盆8的底部中心区域开设有定位孔9,且预旋盆8的一侧外壁与出水支撑座5相对应位置处开设有出水口11,预旋盆8的一侧外壁在远离出水口11位置处开设有进水口10,且预旋盆8的底部安装有底座13,井式泵站2的一侧外壁与进水口10相对应位置处安装有进水管1。
[0017]
本实施例中,优选的,导爪12与出水支撑座5间有橡胶密封圈密封,是为了保证导爪12与出水支撑座5之间的气密性,且橡胶密封圈还能使导爪12与出水支撑座5安装更牢固。
说 明 书
2/3 页
4
CN 207111454 U
4
[0018]
本实施例中,优选的,出水口11的左侧安装有排水管,出水口11所在位置与排水管在同一平面内,是为了使水流排出去时更方便,防止水流排出困难不仅影响泵3的正常运行还增大电机的功率。
[0019]
本实施例中,优选的,导爪12与导靴为一体式结构,是为了使泵3通过导爪12挂在出水支撑座5上时不会出现因导爪12安装不牢固造成泵3滑动脱落使预旋盆8被损坏影响设备的正常运行。
[0020]
本实施例中,优选的,井式泵站2的上方内壁开设有固定槽,导向杆固定架通过嵌入固定槽与井式泵站2固定连接,是为了使导向杆6通过螺栓与导向杆固定架固定连接时,因导向杆固定架通过嵌入固定槽与井式泵站2固定连接,导向杆6不会滑动脱落造成泵3安装不牢固,使设备内零件损坏影响设备的正常运行。
[0021]
工作原理:本实用新型使用时,使用者首先建好井式泵站2,之后将预旋盆8正确放置,然后通过定位孔9将预旋盆8进一步定位,然后通过螺钉将预旋盆8固定在井式泵站2底部,其后在预旋盆8的出水口11处安装出水支撑座5并用膨胀螺栓定位,然后将导向杆6安装在出水支撑座5上,并将导向杆6通过螺栓与导向杆固定架固定连接,然后将导靴套设在导向杆6上同时将导爪12通过螺栓与泵3固定连接,此时打开泵3(开泵前要使泵体内充满液体),叶轮在泵体内做高速旋转运动泵体内的液体随着叶轮一块转动,在离心力的作用下液体在出口处被叶轮甩出,甩出的液体在泵体涡壳内速度逐渐变慢,液体被甩出后,叶轮中心处形成真空低压区,液池中的液体在外界大气压的作用下,经虹吸管4吸入水泵3内,同时通过进水管1注入水,水从进水口10流入预旋盆8当水通过预旋盆8涡旋流道的流量开始增加,开始产生较小的涡旋旋流,随着叶轮旋转至***大速度,其涡旋旋流速度越来越快至***大速度,此时较于其他设备是将水从一定速度加速到合适速度的过程,不但可以泵送出比普通泵送系统更大的流量,还大大节省了这部分能量,降低了叶轮与污水的摩擦力,提高了叶轮的使用寿命,达到节能降耗的效果。
[0022]
尽管已经示出和描述了本实用新型的实施例,对于本领域的普通技术人员而言,可以理解在不脱离本实用新型的原理和精神的情况下可以对这些实施例进行多种变化、修改、替换和变型,本实用新型的范围由所附权利要求及其等同物限定。
以上内容来源于网络,如有侵权,请联系王经理 15122650360删除。



